- Descripción de producto
-
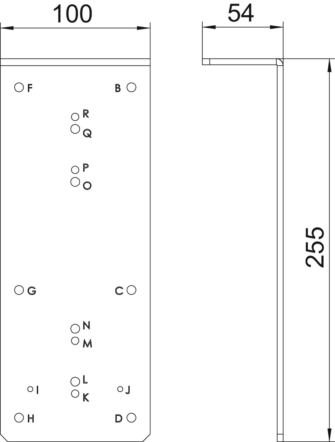
Descripción de productoPlantilla para taladrar agujeros in situ. La plantilla permite marcar los siguientes agujeros.
- Orificios para conectores de puntos de contacto
- Orificios de montaje para piezas finales
- Orificios de fijación para elementos de soporte
- Orificios de fijación para elementos de cierre en la tapa
-
- Datos técnicos
-
Datos técnicos
Adecuado para canalización bajo pavimento no Adecuado para canalización cerrada a ras de pavimento no Adecuado para juntas de dilatación no Altura mínima de pavimento 85 Apropiado para canalización abierta a ras de pavimento sí Chapa de base sí Con conexión equipotencial no Con orificio de conexión no Con saliente sí Cuidados del suelo seco Desacoplable sí Fijación de tapa con retención no Huella de CO2 (GWP) Cradle-to-Gate 2,9582 kg CO2e / 1 Unidad Material Acero Posibilidad de instalar una junta no Superficie Galvanizado en banda Tapa abertura de montaje no Tapa desmontable sí - Todos los tipos
- Descargas
-
Hoja de datos OKB BS BL / 7403883 , 0.16MB , pdfREACH Declaración de conformidad OKB BS BL / 7403883 , 0.12MB , pdfRoHS Declaración de conformidad OKB BS BL / 7403883 , 0.13MB , pdfInstrucciones de montaje Instrucciones de montaje OKB-U y OKB-E , 1.30MB , pdfInstrucciones de montaje Instrucciones de montaje plantillas de taladrado del OKB BS BL , 0.62MB , pdfNo hay textos informativos disponibles para este producto
Español